
Situation
Samsung Design Europe, 2013
Interaction Design
UI Design
UX leader
Patent coordinator
As a UX designer at Samsung, I was proud to contribute to a team that aimed to redefine consumer photography. The company recognized that, despite advancements in smartphone photography, there was still a demand for dedicated cameras that could offer superior performance and user experience.
This project showcased our ability to innovate within the constraints of consumer technology, potentially setting a new standard for user interaction in digital cameras, as the patent I’m part of is cited by other big players (Huawey, GoPro). It also highlighted the value of user-centered design in creating features that are not only technologically advanced but also genuinely useful to the end-user.
Tasks
As a UX designer at Samsung, I was part of a team tasked with developing a new camera for everyday consumers. Our primary objectives were to:
- Improve User Experience: Address the key pain points identified through global user research, specifically:
- Simplify the process of taking pictures
- Ensure users could consistently capture the perfect moment in their photos
- Innovate Camera Technology: Develop unique features that would differentiate Samsung’s camera in a competitive market dominated by smartphones and traditional digital cameras.
- Collaborate Across Teams: Work effectively with various Samsung teams, including:
- The San Francisco SD team leading user research
- Engineers in Seoul for prototype development
- R&D European office for process diagrams and patenting
- Create Patentable Technology: Develop innovative features that could be patented, adding value to Samsung’s intellectual property portfolio.
- Design User-Friendly Interface: Ensure that new features were intuitive and easy to use, enhancing rather than complicating the user experience.
- Bridge User Needs and Technical Feasibility: Translate user research insights into technically feasible features, working closely with engineering teams.
Our challenge was to balance technological innovation with user-centric design, creating a camera that would appeal to everyday consumers while pushing the boundaries of what was possible in digital photography..


Actions
To address the challenges and meet our objectives, we undertook a comprehensive, user-centered design process:
- Extensive User Research
- Participated in global surveys and workshops led by the San Francisco SD team
- Analyzed data to identify key pain points: difficulty in taking pictures and dissatisfaction with captured images
- Competitive Analysis
- Studied competitors in various fields to generate innovative ideas
- Identified opportunities for differentiation in the market
- Ideation and Concept Development
- Brainstormed solutions to address user pain points
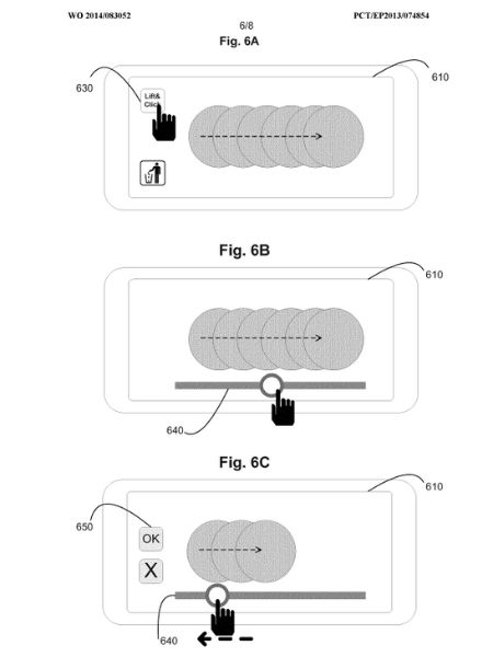
- Developed the concept of “Lift&Click” technology
- Lift&Click Feature Design
- Designed a two-gesture activation process:
- Lifting and clicking the shutter once to start a 3-second recording
- Deeper press to capture the final image
- Created user interface designs to support this new interaction
- Designed a two-gesture activation process:
- Smile Locator Function Development
- Conceptualized an on-camera feature to identify best shots within the 3-second recording
- Designed a timeline UI with highlighted “smiley” shots for easy selection
- Cross-functional Collaboration
- Worked closely with Samsung engineers in Seoul to create the first prototype
- Overcame challenges in international collaboration and communication
- Liaised with the R&D European office to create process diagrams
- Patent Process
- Collaborated with legal teams to file patent applications
- Contributed to the documentation and explanation of the novel technologies
- User Interface Design
- Created an intuitive UI to help users select the smiley frame
- Ensured the new features were seamlessly integrated into the overall camera interface
- Iterative Design and Testing
- Conducted multiple rounds of design iterations based on internal feedback
- Collaborated with engineering teams to refine the features based on technical feasibility
Throughout the process, I played a key role in translating user needs into tangible design solutions, ensuring that the innovative features we developed remained user-friendly and aligned with our original objectives.



Results
The outcome of our innovative UX design process for Samsung’s new camera was significant, leading to other companies (including Huawey and GoPro) to cite it in their papers:
- Successful Feature Implementation
- Successfully developed and integrated two groundbreaking features:
- Lift&Click technology
- Smile Locator function
- These features directly addressed the identified user pain points, potentially improving the ease of capturing the perfect moment
- Successfully developed and integrated two groundbreaking features:
- Patent Acquisition
- Secured patents for both the Lift&Click technology and the Smile Locator function
- My name, along with two directors, was included on the patent, recognizing my contribution to Samsung’s intellectual property
- Market Launch
- The camera with these new features was successfully launched into the market
- This launch represented the culmination of our efforts to innovate in the consumer camera space
- Collaboration Achievement
- Successfully bridged the gap between user needs and technical feasibility
- Demonstrated effective international collaboration, working with teams in San Francisco, Seoul, and Europe
- User-Centered Innovation
- Created features that were not only technologically advanced but also designed with the user’s needs at the forefront
- The Smile Locator function, in particular, offered a novel solution to a common user frustration
- Professional Growth
- Gained valuable experience in international product development
- Enhanced skills in translating user research into patentable features
While specific performance metrics or user feedback were not available due to my departure after the product launch, the successful development, patenting, and market introduction of these features demonstrate the project’s innovation and potential impact on the user experience of everyday photographers.

